Nintendo получила патент в США на механику призыва и сражения персонажей.

Nintendo получила патент в США на механику призыва и сражения персонажей.

Nintendo и The Pokemon Company получили патент от Офиса по патентам и товарным знакам США (USPTO), касающийся механики призыва персонажа для сражения с врагом.

Как сообщает GamesFray, USPTO выдал патент (№ 12,403,397) 2 сентября 2025 года без каких-либо возражений. Nintendo подала заявку на патент в марте 2023 года.

Кроме того, Nintendo был предоставлен еще один патент (№ 12,409,387), связанный с механизмом, который позволяет "плавное переключение или управление объектами".

Это заметное событие, учитывая, что в настоящее время Nintendo и The Pokemon Company подали в суд на разработчика Palworld, компанию Pocketpair, по обвинению в нарушении патентных прав, связанных с игровыми механиками, включающими сбор и управление персонажами.

Важно отметить, что теперь Nintendo может вести судебные разбирательства и с другими разработчиками, которые, по их мнению, нарушают патенты, а не только с Pocketpair.

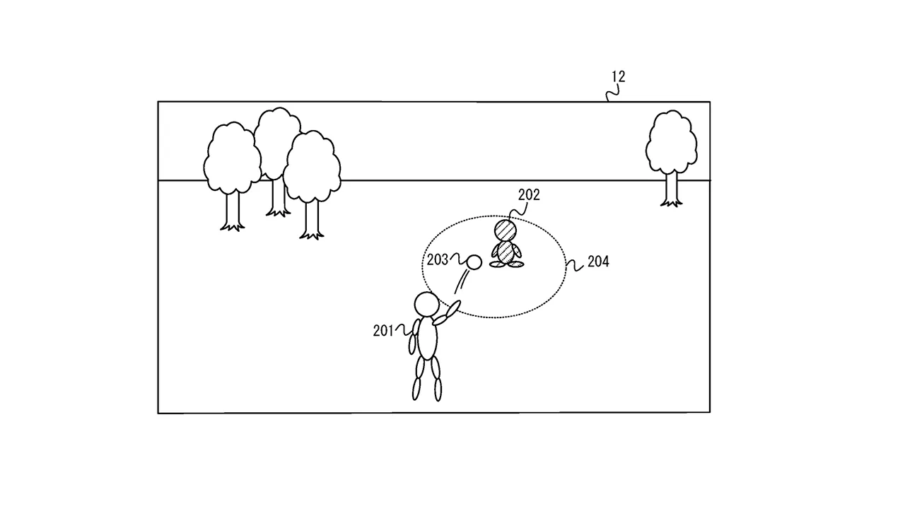
Патент '397 описывает (довольно сложными терминами) сражения, которые будут знакомы большинству игроков Pokemon. В нем также представлены различные пояснительные графики.

В мае Pocketpair изменила некоторые механики Palworld, такие как возможность призыва 'Палов' броском 'Пал Сфер' (теперь это действие имеет форму статичного призыва), чтобы избежать "дальнейших нарушений в разработке Palworld".

Объявляя о этих изменениях, Pocketpair не упомянула Nintendo, но подтвердила, что им пришлось пойти на определенные "компромиссы" после подачи иска.

"В настоящее время мы остаемся вовлеченными в длительные судебные разбирательства по поводу предполагаемого нарушения патентных прав", говорится в заявлении. "Мы продолжаем оспаривать эти претензии и утверждать недействительность обсуждаемых патентов. Однако нам пришлось пойти на некоторые компромиссы, чтобы избежать нарушений в разработке и распространении Palworld."

Оставить коментарий
Комментарий:
Комментарии
  1. user

    Интересно, как это повлияет на будущее игр с похожими механиками. Возможно, разработчики будут более осторожны в своих проектах, чтобы избежать судебных исков от Nintendo.

  2. user

    Ситуация с патентами становится все более сложной. Надеюсь, это не замедлит инновации в игровой индустрии. Надо найти баланс между защитой интеллектуальной собственности и стимулированием креативности.

  3. user

    Это хороший урок для всех разработчиков. Всегда важно проверять, не нарушают ли ваши идеи чужие патенты. Надеюсь, Pocketpair удастся найти решение и продолжить работу над их игрой без дальнейших проблем.